Содержание


Пользовался при ремонте двигателя автомобиля. Правда привод тогда был с помощью торцового ключа. Сейчас мне необходим более быстрый подъём и спуск груза, а точнее инструмента для пробивки скважины под воду. Для привода решил использовать электродвигатель от водяного насоса через ремённую передачу.
Для изготовления лебёдки мне потребовалось: уголок стальной разными размерами полок; листовой металл толщиной 3 мм.; труба водопроводная; бумага наждачная; электроды сварочные; отрезные круги по металлу; болты и гайки: М6, М8; шайбы; пружина на разжимание; редуктор; электродвигатель и ремень.
Использовал инструмент: дрель электрическая; ушм; сварочный инвертор; штангенциркуль; тиски; молоток; ключи гаечные; свёрла; керно; уголок слесарный; насадка для шлифовки.
Начал с изготовления рамы. Для этого отрезал 2 уголка с полкой 50 мм. К ним под прямым углом приварил 2 уголка с полкой 30 мм. для крепления редуктора.
![]()
Одним из популярных способов изготовления самодельной электролебедки, является использование автомобильного стартера. На этом устройстве установлен мощный тяговитый электродвигатель с напряжением питания 12 вольт, что позволяет применять лебедку на внедорожнике.
При изготовлении следует помнить об ограничениях:
- Стартер рассчитан на кратковременную работу. Это вовсе не означает, что он немедленно сгорит при продолжительной нагрузке, но корпус двигателя не обеспечивает достаточного охлаждения обмотки. Если вы планируете использовать лебедку регулярно, и периоды работы будут большими – следует позаботиться о дополнительном охлаждении. Например – наварить на корпус алюминиевых уголков в качестве ребер охлаждения;
- Автомобильный стартер запускается при помощи втягивающего реле с бендиксом. Соленоид для лебедки не нужен, а вот контактный пускатель не помешает. Ток на контактах будет большим, и лучше оставить штатную схему включения. В зависимости от используемого редуктора, бендикс следует зафиксировать сваркой в положении максимального зацепления или удалить из втягивающего реле;
Как сделать лебедку из стартера
В качестве исходного донора возьмем стартер от «Жигулей». Он достаточно надежен, и в то же время имеет компактные размеры. Еще один плюс такого выбора – ВАЗовский стартер можно найти практически даром на любой разборке отечественных авто.

На чертеже видно устройство и составные части стартера. В верхней части – втягивающее реле с силовыми контактами. Их можно использовать, если предполагаются большие нагрузки на лебедку. Слева – механизм бендикса, который необходимо удалить вместе с конусным кожухом.

Поскольку речь идет о компактном маломощном механизме, делать редуктор для лебедки из шестерни маховика не имеет смысла. Достаточно подобрать узел от большой дрели. Найти его также не составит труда, поскольку инструмента со сгоревшим двигателем на блошиных рынках больше, чем со сломанным редуктором.

Особых требований к редуктору нет, главное – чтобы диаметры более или менее подходили.
Для нашего приспособления, разумеется, нужно понижение оборотов.
Корпус бендикса отделяем от лебедки, и у нас остается лишь электродвигатель с валом ротора. Сопряжение вала редуктора с ответной частью стартерного мотора делается по месту. Способов много – от банальной электросварки до изготовления переходной муфты со шплинтами.
Если необходимо увеличить передаточное отношение, можно использовать стартер с планетарным редуктором. Приспособить его к вашей конструкции не намного сложнее, чем соединить валы напрямую, а полезная мощность лебедки существенно возрастет.
Для защиты оператора от вращающихся частей, пространство между редуктором и двигателем закрывается трубой подходящего размера, можно из пластика. Кожух не несет силовой нагрузки, поэтому корпус редуктора обязательно должен быть крепко соединен с корпусом двигателя.
Простые шпильки с резьбой тут не подойдут, над конструкцией необходимо поработать. При этом корпус должен быть разборным, для периодического осмотра и обслуживания (очистки, смазки) подшипников мотора и механизма редуктора.

Далее изготавливаем барабан. Сделать его в домашних условиях можно из куска стальной трубы диаметром 120-180 мм, и листового железа 2-3 мм толщиной.

Вырезаем круглые щеки и привариваем их к трубе. В центре каждой боковины сверлим отверстие для силового вала.

Силовой вал с рабочей шестерней, в данной конструкции позаимствован от списанного механизма электрифицированной задвижки, которые применяются на газо-нефтепроводах. Обязательно используйте штатную пару шестерен, иначе сложно будет выполнить сопряжение основной звездочки с выходом редуктора.

Все элементы должны быть надежно сварены между собой, любая слабина рано или поздно даст трещину, и конструкция развалится в самый ответственный момент.
В качестве станины используется швеллер или стальная полоса толщиной не менее 5 мм. Элементы лебедки не должны иметь люфтов друг относительно друга.
Боковые стенки делаются из листового железа 3-5 мм. Более тонкие листы могут деформироваться при натягивании троса под нагрузкой.

Самая ответственная часть – крепление оси барабана. Для этого использованы мощные подшипники с подиумами от какого-то механизма времен СССР. Найти такие запчасти можно на пунктах сбора металлолома или в цехах заброшенных заводов.

Подиумы привариваются к боковым стенкам. Если вам удалось найти только подшипники – привариваете внешнюю обойму. С механизмом качения ничего не случится, просто нельзя будет подшипники заменить.
На станину крепим редуктор таким образом, чтобы его шестеренка входила в зацепление с силовой шестерней на валу барабана. Напоминаем, что изначально у нас был комплект из вала и комплекта шестеренок. Между стенками устанавливаем проушину – поводок для троса.

Соединяем редуктор с электромотором от стартера, приводим лебедку в благообразный вид: зачищаем болгаркой сварные швы, убираем ржавчину, покрываем инструмент краской.

Конструкция прошла испытание на подъеме тяжестей до 200 кг. В данном варианте используется два редуктора – от электродрели и самодельный из газовой электро задвижки. По ощущениям – тяги хватит еще на 100-150кг.
Если установить стартер с собственным планетарным редуктором, передаточное число которого добавится к двум существующим – возможности приспособления увеличатся вдвое.
На видео пример лебедки с применением стартера.
Как пользоваться устройством?
Обязательно предусмотрите возможность переполюсовки питания лебедки. Реверс в таких приспособлениях необходим. Поскольку это обычный автомобильный электромотор – при смене «+» на «-» поменяется направление вращения вала.
Силовой пускатель пусть будет старым, от втягивающего реле. А стартовые кнопки подойдут от древних электромеханических устройств. В кнопочном блоке можно предусмотреть смену полярности.
Если лебедка используется в автомобиле – не подключаете ее к штатному аккумулятору с выключенным двигателем. При хорошей нагрузке вы посадите АКБ за 10-15 минут.
Габариты позволяют разместить лебедку на бампере подготовленного к бездорожью внедорожника.
Лебедка, собранная своими руками – цена вопроса
При наличии собственного гаража или сарая с хламом, накопившемся за несколько лет домашнего слесарного творчества – стоимость изделия определяет цена баллончика с краской для финальной доработки.
А в принципе, компоненты следующие:
- Стартер от автомобиля ВАЗ 2101 без планетарного редуктора (исправный, валялся в гараже);
- Редуктор в корпусе от электродрели отечественного производства (приобретен на блошином рынке за эквивалент стоимости 0,5 водки);
- Обрезок водопроводной трубы, найден в сарае;
- Металл для станины, стенок корпуса, барабана. Также найден в сарае;
- Ось барабана – приобретена в пункте приема металлолома за гроши;
- Трос и крюк куплен в магазине товаров для туризма.
С учетом стоимости новой лебедки – цену вопроса можно признать нулевой. При этом за безопасность устройства может поручиться владелец. Каждая деталь и сварной шов проверен лично изготовителем.
Еще один вариант лебедки из стартера для хозяйственных нужд

Для изготовления понадобятся:
- Автомобильный стартер б/у с исправным мотором;
- Маховик с шестеренкой;
- Стальной колесный диск, или два тормозных диска – для изготовления барабана;
- Мощный подшипник с подиумом (подойдет б/у ступица в сборе);
- Уголки, швеллера – для изготовления станины;
- Инструмент привычный – болгарка, сварочный аппарат, дрель.
Стартер можно взять от «Жигулей», если вам не нужно перемещать грузовые автомобили. Остальные элементы конструкции, – какие найдете. В данном случае использовался маховик от «Газели», ступица и ШРУС от ВАЗ 2108, тормозные диски от него же.

Диски скручиваем между собой в виде барабана для троса,

остальные элементы конструкции воссоздают сборку оси переднего колеса. С той лишь разницей, что корпус ступицы будет приварен к станине лебедки, а на «гранату» ШРУСа прикреплена шестерня маховика.

Станина варится из мощного швеллера и уголков. На этом элементе конструкции нет смысла останавливаться, разве что обращаем внимание на прочность.

Готовую конструкцию из барабана и опорного подшипника привариваем к станине. Обратите внимание, что вся силовая часть держится на одной опоре. Ничего страшного в этом нет, ступичный узел выдерживает такие нагрузки постоянно.

Наружную «гранату» ШРУСа привариваем к маховику. Качество сварки должно быть высоким, поскольку этот узел будет сильно нагруженным. В данном варианте использовалась архитектура шестерни. Муфта обточена под посадочное место ШРУСа.
![]() |
![]() |
«Семь раз отмерив», привариваем проушину для крепления корпуса стартера.

Конструкция готова, можно приступать к испытаниям. Бендикс втягивающего реле необходимо заблокировать в положении максимального зацепления. Это можно сделать при помощи сварки. Само реле выполняет функцию пускателя.

Приятной особенностью данной лебедки является наличие реверса. Переключив полярность на питании – мы можем запустить стартерный мотор в обратную сторону. Конструкцию пускового механизма с реверсным ходом можно выполнить с помощью силовых реле.
Передаточное отношение пары стартер-маховик настолько велико, что вам не придется изобретать самодельный редуктор для этой лебедки.
Конструкция показала себя, как незаменимый помощник в гараже и на приусадебном участке.
Учебный вопрос № 3
Выводы по вопросу
Лебедка служит для преодоления тяжелых дорожных участков, самовытаскивания, подтягивания автомобилей и прицепов через труднопроходимые участки, поднятия и подтягивания грузов, а также выполнения специальных работ. (СЛАЙД № 15)
Лебедка установлена на специальной поперечине и двух кронштейнах, укрепленных в задней части рамы автомобиля (рис. 7).

Рис. 7. Меторасположение лебедки на автомобиле Камаз (СЛАЙД № 16)
Характеристика:
— с тяговым барабаном;
— с червячным редуктором;
— с автоматическим ленточным тормозом и троссоукладчиком;
— максимальное усилие на тросе составляет 70-90 кН (7000-9000 кгс);
— полная длина троса – 72 м;
— рабочая длина троса – 65 м.
Состоит из(рис. 8):
— тягового барабана с закрепленным на нем тросом;
— вала барабана с подшипниками скольжения;
— автоматического ленточного тормоза;
— муфты включения барабана с приводом;
— деталей крепления и уплотнения;
— блока лебедки с крюком (полиспаста);

Рис. 8. Установка лебедки: (СЛАЙД № 17)
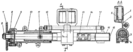
1 — лебедка с редуктором, поперечиной и тросоукладчиком в сборе; 2 — лонжерон рамы; 3 — ролики направляющие трос лебедки задние; 6 — вал карданный лебедки передний в сборе; 7 — вал карданный лебедки задний в сборе; 8 — вал карданный промежуточный лебедки в сборе; 9 — рычаг включения редуктора лебедки; 10 — крышка защитная рычага включения редуктора лебедки с основанием и осью; 11 — фланец промежуточного карданного вала лебедки; 12 — кронштейн передний поперечины правый; 13 — кронштейн передний поперечины левый; 14 — поперечина установки лебедки задняя; 16 — кронштейн опоры; 17 — муфта защитная штока вилки включения редуктора лебедки; 18 — коуш троса лебедки; 19 — клин коуша троса лебедки; 20 — кронштейн клиновой задела троса лебедки; 21 — клин кронштейна заделки троса лебедки; 22 — крюк троса лебедки; 23 — палец крюка троса лебедки

Рис. 9. Задний карданный вал: (СЛАЙД № 18)
1 — вал карданный; 2 — болт предохранительный; 3 — вилка; 4 — подшипник игольчатый; 5 — фланец
Передний карданный вал телескопический. На заднем карданном валу, для предохранения деталей от перегрузки, установлены срезающиеся предохранительные болты 2 (рис. 8.10). Болт имеет проточку, по которой срезается при повышении усилия на тросе свыше 8,5 т. Заменять болт на другой нельзя. Это может привести к обрыву троса или разрушению других деталей. Болты прикладывают в комплект для запасных частей. Промежуточный карданный вал установлен на двух опорах одинаковой конструкции.
Управление приводом лебедки — дистанционное, электропневматическое. Управление осуществляется из кабины при помощи двухпозиционного фиксированного переключателя 1 с встроенной контрольной лампой на панели щитка приборов и нефиксированного кнопочного выключателя 8 на панели выключателей. Одновременное их нажатие приводит к включению электромагнитного клапана коробки отбора мощности.
Редуктор лебедки предназначен для увеличения крутящего момента (усилия на барабане), подводимого от двигателя к барабану (рис 10).
Характеристика:
— с верхним расположением червяка;
— передаточное число = 31;
— смазывается маслом ТМ-3-18 7,1 л (по уровень контрольного отверстия картера).

Рис. 10. Редуктор лебедки в сборе с тормозом: (СЛАЙД № 19)
1 – пресс-масленка; 2 – упорное кольцо; 3 – звездочка; 4 – корпус; 5 – гайка; 6 – пружинная шайба; 7 – подшипник скольжения; 8 – распорная втулка; 9 – барабан; 10 – вал барабана; 11, 15, 28 – болт крышки подшипника; 12, 17 – крышка редуктора; 13 – отбойник троса; 14 – неподвижная муфта; 16, 24, 28, 33 – регулировочные прокладки; 18, 23 – конические роликовые подшипники; 19 – картер редуктора; 20 – червячное колесо; 21 – пробка сливного отверстия; 22 – соединительная муфта; 25, 27, 38 – крышка подшипника; 26 – фланец; 29 – радиально-упорный шариковый подшипник; 30 – червяк; 31 – шариковый радиальный подшипник; 32 – упорный шариковый подшипник; 35 – ленточный тормоз; 36 – скоба крепления троса; 37 – правый кронштейн ходового винта; 39 – вал вилки соединительной муфты; 40 – вилка соединительной муфты; 41 – сухари вилки соекдинительной муфты; 42 – поперечина подвески лебедки
Состоит из:
— картера с крышками;
Картер— отлит из чугуна. В цилиндрических проемах картера размещаются наружные обоймы роликовых конических подшипников валов червяка и червячного колеса. Проемы под подшипники закрываются крышками. В верхней части картера имеется заливное, а в нижней – сливное отверстия для масла, которые закрываются резьбовыми пробками. В боковой стенке картера выполнено контрольное отверстие, закрытое резьбовой пробкой.
Червяк — стальной, глобоидный, изготовлен заодно целое с валом и является ведущим звеном редуктора. Вал червяка установлен в двух шариковых подшипниках. От осевого перемещения вал червяка удерживает установленный на заднем конце шариковый упорный подшипник. Места выхода вала с обоих сторон уплотняются сальниками.
Вал червяка с помощью шлицов и фланца соединяется с карданным валом привода лебедки.
Червячная шестерня является ведомым звеном редуктора и состоит из стальной ступицы и бронзового зубчатого венца, соединенных между собой заклепками. Вал барабана установлен в картере на двух конических подшипниках.
Червячная шестерня жестко соединяется с валом барабана через подвижную зубчатую муфту, которая в свою очередь соединяется своими внутренними зубьями с наружними зубьями неподвижной шестерни сидящей на валу барабана на шлицах.
Вал барабана стальной, установлен в картере на двух роликовых конических подшипниках, с противоположной относительно барабана стороны в корпусе на двух бронзовых втулках, которые фиксируются от проворачивания штифтами. Рабочие поверхности втулок смазываются смазкой МЛИИ 4113-3 через масленки при ТО-2.
Тяговой барабан предназначен для создания тягового усилия на тросе и его (троса) укладки.
Барабан чугунный к левой его реборде скобкой с гайками крепится внутренний конец троса. Барабан установлен на валу на шлицах.
Муфта включения барабана предназначена для соединения или разъединения червячного колеса с валом.
Характеристика:
— с механическим ручным приводом.
Муфта установлена на неподвижной муфте с возможностью осевого перемещения по шлицам, которые не позволяют ей проворачивается относительно вала. Перемещение муфты происходит от усилия водителя, прилагаемого ключом на рычаге-вилке.
Автоматический тормоз предназначен для предотвращения резкого падения груза в случае разрыва с кинематической связи двигателя с редуктором лебедки (выключении сцепления или среза предохранительного штифта).
Характеристика:
— тормозной ленты с фрикционной накладкой, пружиной, регулировочной гайкой и деталями крепления.
Барабан тормоза соединен с валом червяка сегментной шпонкой. Тормозная лента облегает барабан, один конец жестко крепится к кронштейну двумя гайками, а другой имеет возможность перемещаться, благодаря наличию пружины, расположенной между рамой (через которую проходит стержень-оконечность ленты) и регулировочной гайкой. Такая установка тормозной ленты обеспечивает переменное значение прижимной силы, с которой фрикционная накладка взаимодействует с тормозным барабаном. Так, при наматывании троса (подъем груза) барабан, вращается вместе с валом червяка по "часовой стрелке" (если смотреть со стороны фланца). Силы трения, возникающие между барабаном и фрикционной накладкой, отталкивают тормозную ленту от барабана и большие части их рабочих поверхностей испытывают незначительные прижимные усилия. Это становится возможным, благодаря частичному перемещению подвижного вращения барабана.
В случае обрыва кинематической связи между двигателем и редуктором лебедки вращения барабана тормоза изменяется на противоположное, рассмотренному выше. При этом вращение в начальный момент будет ускоренным (свободное падение тела). В этом случае тормозная лента будет подвержена эффекту "наматывания" на барабан, т.к. верхний ее конец закреплен в корпусе без возможности продольного перемещения, а силы трения между рабочими поверхностями тормоза, создаваемые пружиной, увеличатся за счет возникновения упомянутого эффекта и резкого падения груза не произойдет.

Рис. 11. Тросоукладчик лебедки: (СЛАЙД № 20)
1 — ролики; 2 — корпус тросоукладчика; 3 — крышка сухаря; 4 — сухарь; 5 — ось ролика; 6 — гайка; 7 — звездочка; 8 — крышка корпуса; 9 — шариковый подшипник; 10 — корпус привода; 11 — масленка; 12 — уплотнительное кольцо; 13 — ходовой винт; 14 – направляющая; 15 — труба; 16 — заглушка; 17 — траверса
Тросоукладчикобеспечивает правильную укладку на барабане троса при углах отклонения его от оси автомобиля, не превышающих 15° (рис. 11). Корпус держателя направляющих роликов укладывает трос вдоль барабана, совершая возвратно-поступательное движение вдоль ходового винта по двум направляющим валикам. Ходовой винт с левой и правой нарезками, установленный на двух подшипниках, приводится во вращение цепной передачей от вала барабана через ведущую и ведомую звездочки. Осевое усилие ходового винта передается на корпус держателя направляющих роликов через сухарь. Он установлен в корпусе держателя направляющих роликов и зафиксирован крышкой. Направляющие ролики установлены на полиамидных втулках и вращаются на пальцах, которые зафиксированы стопорной пластиной. Для натяжения цепи имеются регулировочные прокладки.
Привод лебедки предназначен для передачи крутящего момента от раздаточной коробки передач к редуктору лебедки и изменения направления вращения ее тягового барабана. Привод состоит из коробки отбора мощности и карданной передачи.
Коробка отбора мощности предназначена для привода лебедки или другого специального оборудования.
Коробка отбора мощности интегрирована в верхней части раздаточной коробки. Отбор мощности осуществляется от первичного вала раздаточной коробки через подвижную муфту. Частота вращения вала коробки отбора мощности не должна превышать 1800 об/мин. Коробка обеспечивает до 40% максимальной мощности двигателя.
Характеристика: механическая, шестеренная, одноходовая, с механическим приводом. Передаточное число по причине прямого соединения с ведущим валом будет соответствовать передаточному числу коробки передач. Смазывается коробка отбора мощности поршневым насосом, расположенным в нижней части коробки отбора мощности.
Коробка мощности состоит:
— картер с крышкой;
— вал с двумя шариковыми подшипниками и фланцем;
— вилка со штоком и фиксатором;
— поршневой масляный насос;
— детали крепления и уплотнения.
Ведомый вал коробки отбора мощности установлен в картере на двух шариковых подшипниках. Вал имеет осевой масляный канал, который соединяется посредством втулки с осевым масляным каналом первичного вала раздаточной коробки. На шлицевой оконечности вала устанавливается фланец для соединения с фланцем-вилкой карданного шарнира. Фланец крепится гайкой через опорную шайбу, которая фиксируется от самоотворачивания при помощи шплинта. Вал со стороны фланца уплотняется самоподжимным сальником, размещенным в крышке подшипника, которая крепится к картеру болтами с разрезными шайбами. В передней части вала имеются шлицы, по которым в осевом направлении может перемещаться, установленная здесь же соединительная зубчатая муфта, которая во включенном положении жестко соединяет первичный вал раздаточной коробки и вал коробки отбора мощности. Картер КОМ болтами крепится к картеру РК.
Механизм включения КОМ состоит из штока и закрепленной на нем вилки. Шток уплотняется сальником и заглушкой. На штоке выполнены две лунки для фиксации включенной передачи. Фиксатор представляет собой шарик и пружину размещенные в отверстии картера, которое закрывается резьбовой пробкой.
Привод управления КОМ механический, представляет собой систему тяг и рычагов. Переключение передач выполняется рычагом из кабины.
Поэтому в процессе использования автомобиля всегда следует следить за тем, чтобы рукоятка была зафиксирована в нейтральном положении и не произошло случайного включения лебедки.
Правила пользования лебедкой.(СЛАЙД № 21)
— надеть рабочие рукавицы;
— разматывать трос надо вручную, отключив вал барабана лебедки (допускается принудительное разматывание троса, но при этом его слабину надо выбирать вручную);
— перед началом подтягивания на барабане должно быть не менее четырех витков троса;
— угол отклонения троса от продольной оси автомобиля при подтягивании не должен превышать 15°;
— при подтягивании следует плавно увеличивать частоту вращения коленчатого вала двигателя. Резкое увеличение частоты вращения не увеличивает тягового усилия на тросе, но может вызвать срез предохранительного штифта;
— в случае среза предохранительного штифта во избежание задира карданного вала в вилке необходимо немедленно остановить лебедку, выключив сцепление и установив нейтраль в коробке передач;
— запрещается использовать вместо предохранительного штифта болты или другие детали;
— во избежание перегрева редуктора не разрешается подтягивание троса на полную длину более трех раз подряд с максимальной или близкой к ней нагрузкой. При необходимости дальнейшей работы требуется охладить редуктор до температуры, которую может выдержать рука при прикосновении к картеру;
— нельзя использовать трос лебедки для буксировки автомобиля и прицепа;
— при движении автомобиля трос лебедки должен быть туго намотан на барабан. Закончив пользование лебедкой, пропустить трос сверху вниз через левый задний буфер и зацепить крюк троса за правый задний буфер, включить лебедку, первую передачу в коробке передач и натянуть трос.
Для включения лебедки необходимо:
— установить рычаги раздаточной коробки и коробки передач в нейтральное положение;
— для принудительной выдачи троса, пользуясь ключом на 30 мм, поставить рычаг подвижной муфты в верхнее (включенное) положение. Для ручной размотки троса рычаг подвижной муфты должен находиться в нижнем (выключенном) положении;
— включить коробку отбора мощности (освободить стопор и перевести рычаг коробки дополнительного отбора мощности до упора вперед), первую или вторую передачу в коробке передач и выдать трос на необходимую длину. Слабину троса выбирать вручную, не допуская схода троса с барабана. Перед началом подтягивания на барабане должно быть не менее 3-4 витков;
— включить передачу заднего хода для подтягивания груза;
— при самовытаскивании автомобиля включить пониженную передачу в раздаточной коробке и передачу заднего хода в коробке передач.
Производя самовытаскивание автомобиля, следует размотать трос, зацепить его за дерево или столб, включить лебедку и первую передачу в коробке передач. С целью повышения эффективности самовытаскивания при выдаче троса вперед допускается включать первую (понижающую) передачу в раздаточной коробке, предварительно заблокировав межосевой дифференциал. При самовытаскивании назад с применением блока необходимо выбить клин, освободить трос от крюка и закрепить его клином на правом лонжероне рамы.
Выводы по вопросу
Не нашли то, что искали? Воспользуйтесь поиском:

